9888À­Ë¹Î¬¼Ó˹

9888À­Ë¹Î¬¼Ó˹(¹É·Ý)ÓÐÏÞ¹«Ë¾-¹Ù·½ÍøÕ¾
ÎÒÃǵķþÎñ

×÷ΪÖйúµÚÈý·½¼ì²âÓëÈÏÖ¤·þÎñµÄ¿ªÍØÕߺÍÁìÏÈÕߣ¬CTI9888À­Ë¹Î¬¼Ó˹¼ì²âΪȫÇò¿Í»§ÌṩһվʽĥÁ·¡¢²âÊÔ¡¢Ð£×¼¡¢ÈÏÖ¤¼°ÊÖÒÕ·þÎñ¡£

9888À­Ë¹Î¬¼Ó˹(¹É·Ý)ÓÐÏÞ¹«Ë¾-¹Ù·½ÍøÕ¾
ÐÐÒµ½â¾ö¼Æ»®

·þÎñÄÜÁ¦ÒÑÖÜÈ«ÁýÕÖµ½·ÄÖ¯´ò°ç¼°Ð¬°ü¡¢Ó¤Í¯Íæ¾ß¼°¼Ò¾ÓÉúÑÄ¡¢µç×ÓµçÆ÷¡¢Ò½Ñ§¿µ½¡¡¢Ê³Îï¼°Å©²úÆ·……µÈÐÐÒµµÄ¹©Ó¦Á´ÉÏÏÂÓΡ£

9888À­Ë¹Î¬¼Ó˹(¹É·Ý)ÓÐÏÞ¹«Ë¾-¹Ù·½ÍøÕ¾
ÌØÉ«·þÎñ

ÖÜÈ«°ü¹ÜÆ·ÖÊÓëÇå¾²£¬Íƶ¯ºÏ¹æÓëÁ¢Ò죬ÕÃÏÔÆ·ÅƾºÕùÁ¦£¬ÊµÏÖ¸ü¸ßÖÊÁ¿¡¢¸ü¿µ½¡¡¢¸üÇå¾²¡¢¸üÂÌÉ«µÄ¿ÉÒ»Á¬Éú³¤¡£

¼ÓÈëÎÒÃÇ
È˲ÅÕþ²ß
ÕÐÏÍÄÉÊ¿
9888À­Ë¹Î¬¼Ó˹(¹É·Ý)ÓÐÏÞ¹«Ë¾-¹Ù·½ÍøÕ¾
È˲ÅÕþ²ß
°ü¹ÜÔ±¹¤»ù±¾È¨ÒæÓ븣Àû £»ÌṩרҵÊÖÒÕÅàѵ£¬Ôö½øÔ±¹¤Éú³¤ £»¿ªÕ¹¸»ºñ¶à²ÊµÄ»î¶¯£¬Æ½ºâÔ±¹¤ÊÂÇéÓëÉúÑÄ¡£
9888À­Ë¹Î¬¼Ó˹(¹É·Ý)ÓÐÏÞ¹«Ë¾-¹Ù·½ÍøÕ¾
ÕÐÏÍÄÉÊ¿
½Ó´ý¼ÓÈë9888À­Ë¹Î¬¼Ó˹¼ì²â¸÷ÈËÍ¥£¬ÎÒÃǽ«ÎªÄã´î½¨Ò»¸ö³ä·ÖÑéÕ¹²Å»ª£¬ÊµÏÖÖ°ÒµÀíÏëµÄÎę̀¡£
9888À­Ë¹Î¬¼Ó˹(¹É·Ý)ÓÐÏÞ¹«Ë¾-¹Ù·½ÍøÕ¾
ÐÂÎÅ×ÊѶ

ҽе²úÆ·×¢²á¼Æ»®| Ò»´ÎÐÔʹÓÿÉÊÓºíÕÖ

Ðû²¼Ê±¼ä£º2025-12-11 ä¯ÀÀ´ÎÊý£º1213

9888À­Ë¹Î¬¼Ó˹(¹É·Ý)ÓÐÏÞ¹«Ë¾-¹Ù·½ÍøÕ¾

 

ÊÂÇéÔ­Àí¼°²úÆ·×é³É

£¨Ò»£©ÊÂÇéÔ­Àí

ͨË×ÐÍ¡¢ÔöÇ¿ÐÍÒ½ÓúíÕÖ²úÆ·Ö÷ÒªÓÃÓÚ·­¿ª²¢ÃÜ·âÉÏºí²¿£¬ÔÚ¾ÙÐÐ×ÔÖ÷¡¢¸¨Öú»ò¿ØÖÆÍ¨ÆøÊ±£¬ÔÚ»¼ÕßÌåÄÚÌṩһ¸öÆøÌåͨµÀ¡£Ê¹ÓÃʱ£¬½«ºíÕÖ°²ÅÅÌùºÏµ½»áÑᲿ£¬ÆøÄÒ³äÆøºóÆðµ½ÃÜ·âºÍÀο¿×÷Óá£Ò½ÓúíÕּȿÉΪ»¼Õß×ÔÖ÷ºôÎüÌṩͨµÀ£¬ÓÖÄÜÊ©ÐÐÕýÑ¹Í¨Æø¡£³äÆø·§Îªµ¥Ïò·§£¬±ÜÃâÆøÄÒÄÚÆøÌåÍâй£¬Ò½Éú¿Éͨ¹ýָʾÇòÄÒ±ñÏ»òÐËÆðµÄ״̬À´¼àÊÓÆøÄÒÊÇ·ñ´¦ÔÚÕý³£ÊÂÇé״̬¡£
ʳµÀÒýÁ÷ÐÍÒ½ÓúíÕÖÔÚͨË×ÐÍ¡¢ÔöÇ¿ÐÍÒ½ÓúíÕÖ»ù´¡ÉÏÔöÌíÁËÒ»¸öͨµÀ£¬¹©²åÈëθ¹Ü£¬Åſա¢Ï´åª¡¢¹à×¢Óá£
Ãâ³äÆøÐÍÒ½ÓúíÕÖÆøÄÒÎÞÐè³äÆø¼´¿ÉÆðµ½ÃÜ·âºÍÀο¿×÷Óá£

 

£¨¶þ£©²úÆ·µÄ½á¹¹ºÍ×é³É
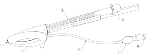
µä·¶µÄÒ½ÓúíÕÖ²úÆ·°´ÐÎ×´½á¹¹Ö÷ÒªÓÐͨË×ÐÍ£¨¼ûͼ1£©¡¢ÔöÇ¿ÐÍ£¨¼ûͼ2£©¡¢Ê³µÀÒýÁ÷ÐÍ£¨¼ûͼ3£©¡¢Ãâ³äÆøÐÍ£¨¼ûͼ4£©¡£²úÆ·ËùÓÃÖÊÁÏÖ÷ÒªÓйèÏ𽺡¢PVC£¨¾ÛÂÈÒÒÏ©£©¡¢PE£¨¾ÛÒÒÏ©£©¡¢ÈÈËÜÐÔÏ𽺵È¡£

9888À­Ë¹Î¬¼Ó˹(¹É·Ý)ÓÐÏÞ¹«Ë¾-¹Ù·½ÍøÕ¾

1-ÆøÄÒ  £» 2-ÅþÁ¬¼þ £» 3-Í¨Æø¹Ü £»4-³äÆø¹Ü £»5-ָʾÇòÄÒ £»6-ÌÖÂÛ £» 7-³äÆø·§

ͼ1

 

9888À­Ë¹Î¬¼Ó˹(¹É·Ý)ÓÐÏÞ¹«Ë¾-¹Ù·½ÍøÕ¾

1-ÆøÄÒ £»2-ÅþÁ¬¼þ £»3-Í¨Æø¹Ü £»4-³äÆø¹Ü £»5-ָʾÇòÄÒ £»6-ÌÖÂÛ £»7-³äÆø·§

ͼ2

 

9888À­Ë¹Î¬¼Ó˹(¹É·Ý)ÓÐÏÞ¹«Ë¾-¹Ù·½ÍøÕ¾

1-ʳµÀÒýÁ÷Ç» £»2-ÆøÄÒ £»3-ÅþÁ¬¼þ £»4-Í¨Æø¹Ü £»5-ÌÖÂÛ 6-³äÆø¹Ü £»7-Ö¸Ê¾ÆøÄÒ £»  8-³äÆø·§

ͼ3

 

9888À­Ë¹Î¬¼Ó˹(¹É·Ý)ÓÐÏÞ¹«Ë¾-¹Ù·½ÍøÕ¾

1-ʳµÀÒýÁ÷Ç» £»  2-ÎÞÐè³äÆøµÄÕÖÄÒ £»  3-»áÑá¼Ü £»4-Í¨Æø¹Ü £» 5-ÌÖÂÛ

ͼ4

 

·ÖÀàÏêÇé

Ò»´ÎÐÔʹÓÿÉÊÓ ºíÕÖ°´µÚ¶þÀàÒ½ÁÆÆ÷е¹ÜÀí£¬·ÖÀà±àÂëΪ08-06-05¡£

9888À­Ë¹Î¬¼Ó˹(¹É·Ý)ÓÐÏÞ¹«Ë¾-¹Ù·½ÍøÕ¾

 

×¢²áµ¥Î»»®·ÖÔ­Ôò¼°µä·¶ÐͺÅÑ¡Ôñ

×¢²áµ¥Î»µÄ»®·ÖÒÔ²úÆ·µÄÊÖÒÕÔ­Àí¡¢½á¹¹×é³É¡¢Ö÷ÒªÔ­ÖÊÁÏ¡¢ÐÔÄÜÖ¸±êºÍÊÊÓùæÄ£Îª»®·ÖÒÀ¾Ý¡£
ÀýÈ磺ͨË×ÐÍ¡¢ÔöÇ¿ÐÍ¡¢¿É×÷Ϊͳһע²áµ¥Î» £»Ê³µÀÒýÁ÷ÐÍ¡¢Ãâ³äÆøÐÍÓ¦×÷Ϊ²î±ð×¢²áµ¥Î»¡£ÒÀÖ÷ÒªÔ­ÖÊÁÏΪ¹èÏ𽺡¢PVC£¨¾ÛÂÈÒÒÏ©£©¡¢PE£¨¾ÛÒÒÏ©£©¡¢ÈÈËÜÐÔÏ𽺻®·ÖΪ²î±ð×¢²áµ¥Î»¡£

 

²úÆ·³£¼û±ê×¼

·º£ÄÚ×¢²á-¼ì²â¼Æ»®

9888À­Ë¹Î¬¼Ó˹(¹É·Ý)ÓÐÏÞ¹«Ë¾-¹Ù·½ÍøÕ¾

 

·ÍâÑó×¢²á-¼ì²â¼Æ»®

9888À­Ë¹Î¬¼Ó˹(¹É·Ý)ÓÐÏÞ¹«Ë¾-¹Ù·½ÍøÕ¾

±¸×¢£ºÉÏÊö±ê×¼°üÀ¨Á˲úÆ·ÊÖÒÕÒªÇóÖо­³£Éæ¼°µ½µÄ±ê×¼£¬ÆóÒµÐèҪƾ֤²úÆ·µÄÌØµãÒýÓÃÆäËûÊÊÓõıê×¼

 

ÆÀÉó¹Ø×¢µã

£¨Ò»£©²úÆ·ÊÖÒÕÒªÇó±àдµÄ¹æ·¶ÐÔ£¬ÒýÓñê×¼µÄÊÊÓÃÐÔ¡¢×¼È·ÐÔ£¬ÄÚÈÝÊÇ·ñÖÜÈ«¡¢×¼È·£¬ÊÇ·ñÇкÏÏà¹Ø±ê×¼µÄÒªÇó¡£

£¨¶þ£©ÖØµã¹Ø×¢ÆóÒµ²úÆ·Ñо¿×ÊÁÏÊÇ·ñÖÜÈ«¡¢×¼È·£¬ÊÇ·ñÌåÏÖÆäÇå¾²ÐÔ¡¢ÓÐÓÃÐÔ¡£ÈôÊDzúÆ·ÐÔÄÜÖ¸±êÎÞÏêϸȪԴ¡¢ÒÀ¾ÝµÄ£¬ÖØµã¹Ø×¢Ïà¹ØÊÖÒÕÖ¸±êÊÇ·ñÂÛÖ¤³ä·Ö¡£

£¨Èý£©²úƷΣº¦ÆÊÎö×ÊÁÏÉó²é²úÆ·µÄÖ÷ҪΣº¦ÊÇ·ñÒѾ­Ã¶¾Ù£¬¿ØÖƲ½·¥ÊÇ·ñÓÐÓã¬Î£º¦ÊÇ·ñ½µµ½¿É½ÓÊܵÄˮƽ֮ÄÚ¡£

£¨ËÄ£©²úÆ·ÐÔÄÜ×Լ챨¸æ¡¢×¢²áÄ¥Á·±¨¸æµÄÍêÕûÐÔ£¬Ó¦¼ìÏîÄ¿²»µÃȱÏĥÁ·½áÂÛ¼°Ô¤ÆÀ¼ÛÒâ¼ûµÈ¡£

£¨Î壩²úÆ·Ô¤ÆÚÓÃ;£¬ÔÚÒ½ÁÆÆ÷еע²áÉêÇë±í¡¢×ÛÊö×ÊÁÏ¡¢²úƷΣº¦ÆÊÎö×ÊÁÏ¡¢²úƷ˵Ã÷ÊéµÈ·½ÃæÐðÊöÊÇ·ñÒ»Ö¡£

£¨Áù£©¹ØÓÚÔÊÐíÊÂÏî±ä»»£¬×¢²áÈËÓ¦Õë¶Ô²úÆ·Ãû³Æ¡¢Ðͺ𢹿¸ñ¡¢½á¹¹¼°×é³É¡¢ÊÊÓùæÄ£¡¢²úÆ·ÊÖÒÕÒªÇó¡¢Èë¿ÚÒ½ÁÆÆ÷еÉú²úµØÖ·µÈ±¬·¢×ª±äµÄ²¿·Ö¾ÙÐÐÆÀ¼Û£¬ÖصãÉóºË¶Ôת±äºó²úÆ·ÊÇ·ñÇå¾²¡¢ÓÐÓÃ×ö³öÆÀ¼Û¡£

 

CTI9888À­Ë¹Î¬¼Ó˹¼ì²âÒ½ÁÆÆ÷е·þÎñ

9888À­Ë¹Î¬¼Ó˹¼ì²âÒ½ÁÆÆ÷еʵÑéÊÒÏÖÔÚÒѾ­»ñµÃÁËÒÔÉÏר±êÍâ²âÊÔ±ê×¼µÄCNAS¡¢CMAÊÚȨ£¬²âÊÔÏîÄ¿°üÀ¨ÉúÎïÏàÈÝÐÔ²âÊÔ¡¢°ü×°ÔËÊä¼°ÀÏ»¯ÊµÑéµÈ£¬¿ÉÒÔΪҽÁÆÆ÷еÉú²úÆóÒµÌṩ¡¾Ò»´ÎÐÔʹÓÿÉÊÓºíÕÖ¡¿È«ÇòÊг¡×¼ÈëµÄһվʽע²á¼ì²â·þÎñ¼Æ»®¡£

ÍøÕ¾µØÍ¼